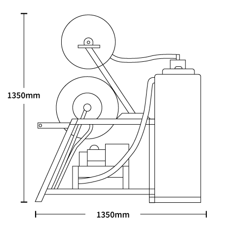
Home / High Pressure Jetting Machines / Van Pack Jetters / V-Pack 4 SeriesV-Pack 4 Series Request a Quote Home / High Pressure Jetting Machines / Van Pack Jetters / V-Pack 4 SeriesV-Pack 4 Series Request a Quote The 4-Series is the ultimate van-pack machine for professional users who rely on getting the best performance from their equipment every day. Designed and built in the UK, the 4-Series was developed in conjunction with the engine manufacturer Yanmar. It utilises a 37HP water-cooled low-noise 3-cylinder diesel engine that is suitable for use tackling the toughest tasks in sewers and drains up to 350mm. The best-in-class Yanmar engine is quieter and lighter than its predecessor without compromising on performance. In fact, the 4-Series has a better torque curve with plenty of torque at low revs and improved timing according to engine load. This combined with the increased water flow (13gpm) means that removing silt is much more efficient, while increased pressure (3625psi) is ideal for cutting through roots and hard deposits. The 4-Series is supplied with the new lightweight single-wire hose and a set of nozzles that have been designed specifically to maximise performance. The compact frame and dry weight of only 495kg mean the 4-Series can be comfortably installed in most mid-sized vans with plenty of room for tools, storage and welfare equipment. It is also available in a space-saving ‘Stack’ configuration for use in dual purpose CCTV vehicles. PRODUCT SPECIFICATIONS Pipework Diameter < 350mm Performance 3625psi @ 13GPM (250BAR @ 60LPM)* Standard Water Tank Capacity 400 Litres (88 Gallon) Engine Yanmar 3TNV Low Noise 3 Cylinder Diesel HP Pump Type Triplex High-Pressure Pump Engine Cooling Water Cooled Run Dry Protection Standard Frost Protection Anti-Freeze Valve HP Reel Hydraulic Drive HP Reel Hose Guidance Not Included (Optional) Hose 90 Metres ½” Lightweight Single-Wire Jetting Hose Reel Arrangement Fixed Hose Reel Filling Hose 25 Metres Control Box Yes Remote Control 5 Channel Radio Remote System or Foot Pedal Construction Compact Mild Steel Construction, Shot Blasted, Zinc Primed & Powder Coated Included Accessories 2 Specially Developed Nozzles, User Manual, Leader Hose Approximate Dry Weight 495KG Approximate Max Weight 895KG (with standard water tank) Machine Dimensions 1350 D x 1300 W x 1350 H (with standard water tank) Fuel Tank Capacity 20 Litres Base Vehicle Suitability Ford Transit, Vauxhall Movano, Mercedes Benz Sprinter, VW Crafter, Renault Master, Peugeot Boxer Warranty 12 Months (Terms and conditions apply) DOWNLOAD BROCHURE